专利数据库
统计分析
产业报告
专利数据监控
产业人才
行业动态
产业政策法规
维权援助
个人中心
详情
文本
图像
标题
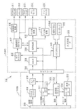
電子内視鏡装置
授权日
1900-01-01
公开(公告)号
JP2005102764A
申请日
2003-09-29
公开(公告)日
2005-04-21
当前申请(专利权)人
フジノン株式会社
发明人
樋口 充
简单同族
DE102004046787A1 | DE102004046787B4 | JP2005102764A | US20050070761A1
简单同族成员数量
4
简单同族被引用专利总数
22
诉讼案件数
0
法律状态/事件
驳回 | 权利转移
抱歉,您的浏览器不支持PDF预览,请点击链接下载PDF文件