专利数据库
统计分析
产业报告
专利数据监控
产业人才
行业动态
产业政策法规
维权援助
个人中心
详情
文本
图像
标题
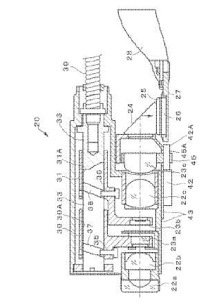
内視鏡装置
授权日
1900-01-01
公开(公告)号
JP2006106520A
申请日
2004-10-08
公开(公告)日
2006-04-20
当前申请(专利权)人
富士フイルム株式会社
发明人
南 逸司
简单同族
AT536798T | EP1645220A1 | EP1645220B1 | JP2006106520A | JP4482418B2 | US20060084841A1 | US7901352
简单同族成员数量
7
简单同族被引用专利总数
51
诉讼案件数
0
法律状态/事件
未缴年费 | 权利转移
抱歉,您的浏览器不支持PDF预览,请点击链接下载PDF文件