专利数据库
统计分析
产业报告
专利数据监控
产业人才
行业动态
产业政策法规
维权援助
个人中心
详情
文本
图像
标题
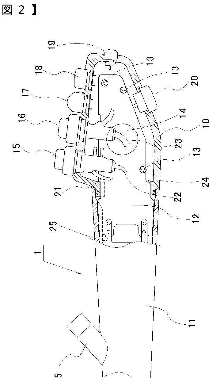
内視鏡
授权日
2008-10-31
公开(公告)号
JP4207626B2
申请日
2003-03-28
公开(公告)日
2009-01-14
当前申请(专利权)人
フジノン株式会社
发明人
秋庭 治男
简单同族
DE102004015292A1 | DE102004015292B4 | JP2004298245A | JP4207626B2 | US20040193183A1 | US7371211
简单同族成员数量
6
简单同族被引用专利总数
48
诉讼案件数
0
法律状态/事件
未缴年费 | 权利转移
抱歉,您的浏览器不支持PDF预览,请点击链接下载PDF文件