专利数据库
统计分析
产业报告
专利数据监控
产业人才
行业动态
产业政策法规
维权援助
个人中心
详情
文本
图像
标题
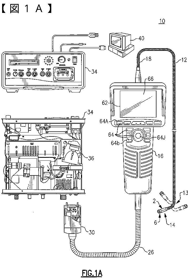
挿入チューブ格納カルーセル
授权日
2012-05-18
公开(公告)号
JP4997235B2
申请日
2006-06-23
公开(公告)日
2012-08-08
当前申请(专利权)人
ジーイー·インスペクション·テクノロジーズ,エルピー
发明人
クラウター,アラン·アイ | フィッシュ,チャールズ·ダブリュ | ローソン,ロナルド·エイチ | リア,レイモンド·エイ | カーペン,トーマス·ダブリュー | ヴォン·フェルテン,ケネス
简单同族
AT534325T | CN101282676A | CN101282676B | EP1909633A1 | EP1909633B1 | JP2008544332A | JP2008544332A5 | JP4997235B2 | US20070156018A1 | US7819798 | WO2007002526A1
简单同族成员数量
11
简单同族被引用专利总数
33
诉讼案件数
0
法律状态/事件
授权 | 权利转移
抱歉,您的浏览器不支持PDF预览,请点击链接下载PDF文件