专利数据库
统计分析
产业报告
专利数据监控
产业人才
行业动态
产业政策法规
维权援助
个人中心
详情
文本
图像
标题
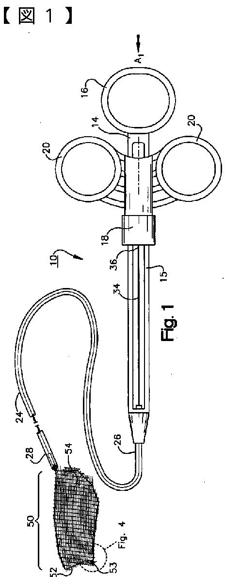
回収デバイス
授权日
2010-05-14
公开(公告)号
JP4505658B2
申请日
2005-05-25
公开(公告)日
2010-07-21
当前申请(专利权)人
ユー.エス. エンドスコピー グループ, インコーポレイテッド
发明人
シークレスト, ディーン ジェイ. | ケイ, クリストファー ジェイ. | ジョン, ランドール ケー.
简单同族
EP1765192A2 | EP1765192A4 | JP2007534451A | JP4505658B2 | US20050267489A1 | US8057484 | WO2005115120A2 | WO2005115120A3
简单同族成员数量
8
简单同族被引用专利总数
48
诉讼案件数
0
法律状态/事件
授权
抱歉,您的浏览器不支持PDF预览,请点击链接下载PDF文件