专利数据库
统计分析
产业报告
专利数据监控
产业人才
行业动态
产业政策法规
维权援助
个人中心
详情
文本
图像
标题
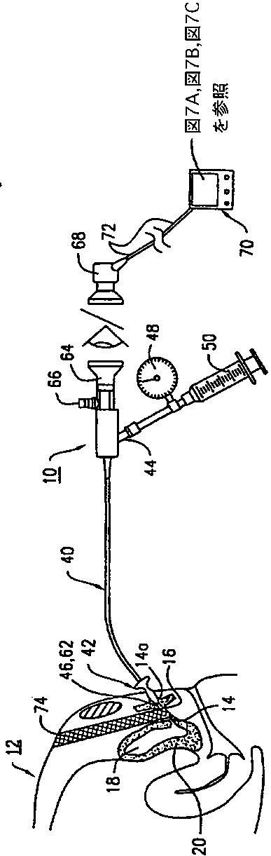
女性尿失禁の治療用のスリング張力の測定及び評価のための装置及び方法
授权日
1900-01-01
公开(公告)号
JP2004515277A
申请日
2001-10-23
公开(公告)日
2004-05-27
当前申请(专利权)人
エシコン·インコーポレイテッド
发明人
ミラー·ギャリー·エイチ
简单同族
AT415992T | AU2002241763A1 | AU2002241763B2 | CA2426805A1 | CN100528074C | CN1561184A | DE60136843D1 | EP1339350A2 | EP1339350A4 | EP1339350B1 | ES2316488T3 | JP2004515277A | JP2004515277A5 | JP4156366B2 | KR1020030081323A | KR1020080022238A | US20020115906A1 | US20040133068A1 | US6699175 | US6969347 | WO2002045774A2 | WO2002045774A3 | WO2002045774A8
简单同族成员数量
23
简单同族被引用专利总数
209
诉讼案件数
0
法律状态/事件
授权
抱歉,您的浏览器不支持PDF预览,请点击链接下载PDF文件