专利数据库
统计分析
产业报告
专利数据监控
产业人才
行业动态
产业政策法规
维权援助
个人中心
详情
文本
图像
标题
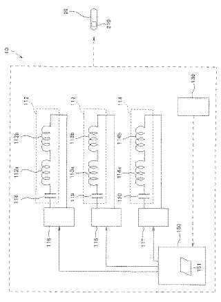
無線給電システム
授权日
1900-01-01
公开(公告)号
JP2008283791A
申请日
2007-05-10
公开(公告)日
2008-11-20
当前申请(专利权)人
オリンパス株式会社
发明人
宮原 秀治 | 佐藤 憲
简单同族
JP2008283791A | JP4885788B2
简单同族成员数量
2
简单同族被引用专利总数
62
诉讼案件数
0
法律状态/事件
授权 | 权利转移
抱歉,您的浏览器不支持PDF预览,请点击链接下载PDF文件