专利数据库
统计分析
产业报告
专利数据监控
产业人才
行业动态
产业政策法规
维权援助
个人中心
详情
文本
图像
标题
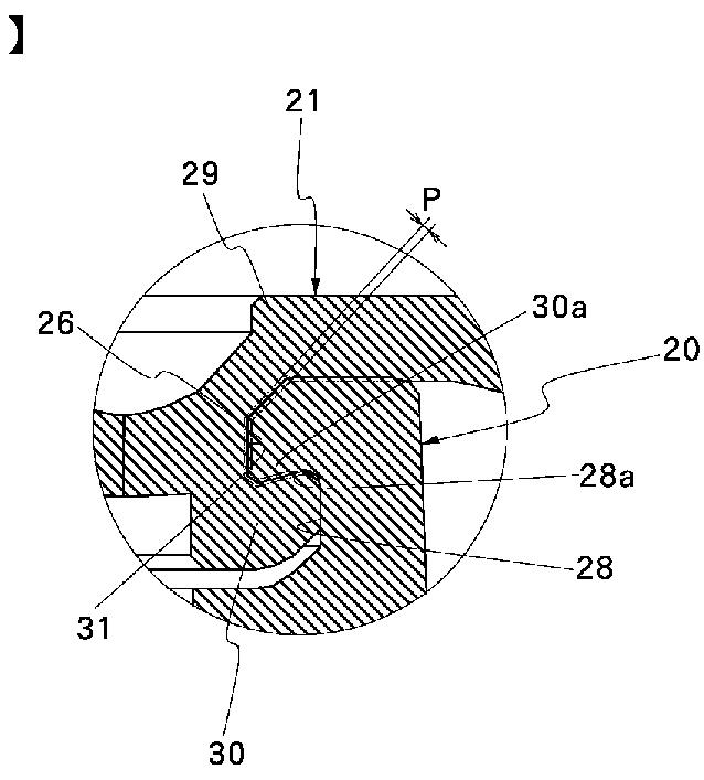
内視鏡の鉗子栓
授权日
2008-10-17
公开(公告)号
JP4200731B2
申请日
2002-10-23
公开(公告)日
2008-12-24
当前申请(专利权)人
フジノン株式会社
发明人
秋庭 治男
简单同族
JP2004141303A | JP4200731B2 | US20040167379A1 | US7226411
简单同族成员数量
4
简单同族被引用专利总数
76
诉讼案件数
0
法律状态/事件
未缴年费 | 权利转移
抱歉,您的浏览器不支持PDF预览,请点击链接下载PDF文件