专利数据库
统计分析
产业报告
专利数据监控
产业人才
行业动态
产业政策法规
维权援助
个人中心
详情
文本
图像
标题
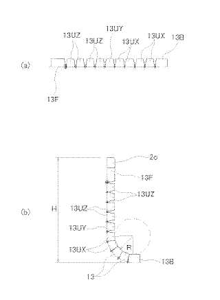
内視鏡のアングル部
授权日
1900-01-01
公开(公告)号
JP2005334050A
申请日
2004-05-24
公开(公告)日
2005-12-08
当前申请(专利权)人
フジノン株式会社
发明人
町屋 守 | 秋庭 治男
简单同族
CN100376200C | CN1701753A | EP1600102A1 | EP1600102B1 | JP2005334050A | US20050261548A1 | US7326176
简单同族成员数量
7
简单同族被引用专利总数
36
诉讼案件数
0
法律状态/事件
驳回 | 权利转移
抱歉,您的浏览器不支持PDF预览,请点击链接下载PDF文件