专利数据库
统计分析
产业报告
专利数据监控
产业人才
行业动态
产业政策法规
维权援助
个人中心
详情
文本
图像
标题
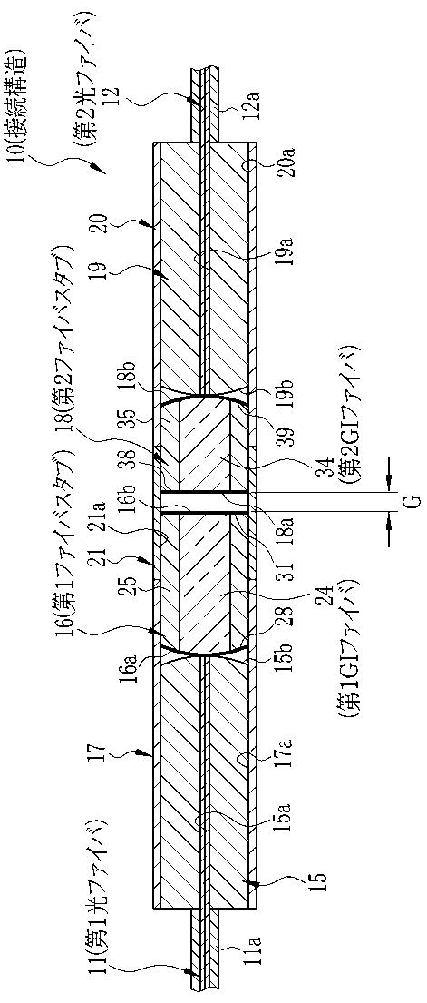
光ファイバの接続構造及び内視鏡システム
授权日
1900-01-01
公开(公告)号
JP2011008014A
申请日
2009-06-25
公开(公告)日
2011-01-13
当前申请(专利权)人
富士フイルム株式会社
发明人
下津 臣一
简单同族
EP2267501A2 | EP2267501A3 | EP2267501B1 | JP2011008014A | JP5192452B2 | US20100329609A1 | US7986861
简单同族成员数量
7
简单同族被引用专利总数
45
诉讼案件数
0
法律状态/事件
授权
抱歉,您的浏览器不支持PDF预览,请点击链接下载PDF文件