专利数据库
统计分析
产业报告
专利数据监控
产业人才
行业动态
产业政策法规
维权援助
个人中心
详情
文本
图像
标题
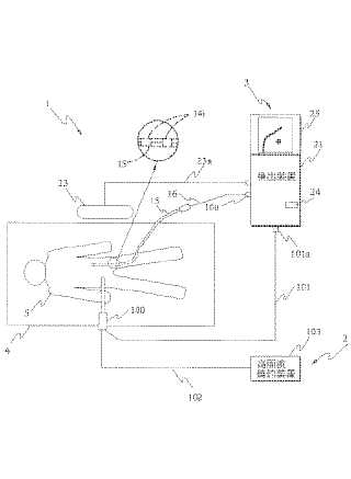
手術支援装置
授权日
1900-01-01
公开(公告)号
JP2006280591A
申请日
2005-03-31
公开(公告)日
2006-10-19
当前申请(专利权)人
オリンパスメディカルシステムズ株式会社
发明人
小野田 文幸 | 丹羽 寛 | 三好 義孝 | 相沢 千恵子 | 佐藤 稔 | 織田 朋彦 | 三宅 憲輔
简单同族
CN101132744A | JP2006280591A | JP4766902B2
简单同族成员数量
3
简单同族被引用专利总数
38
诉讼案件数
0
法律状态/事件
授权 | 权利转移
抱歉,您的浏览器不支持PDF预览,请点击链接下载PDF文件