专利数据库
统计分析
产业报告
专利数据监控
产业人才
行业动态
产业政策法规
维权援助
个人中心
详情
文本
图像
标题
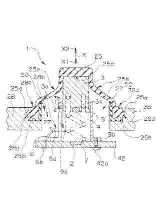
流体制御入力手段
授权日
1900-01-01
公开(公告)号
JP2004337188A
申请日
2003-05-12
公开(公告)日
2004-12-02
当前申请(专利权)人
オリンパス株式会社
发明人
荒井 敬一 | 前田 俊成 | 池田 裕一 | 宮城 隆康
简单同族
AT433707T | AT458439T | DE602004021587D1 | DE602004025754D1 | EP1623662A1 | EP1623662A4 | EP1623662B1 | EP1955646A1 | EP1955646B1 | JP2004337188A | JP3938760B2 | US20060100485A1 | WO2004098394A1
简单同族成员数量
13
简单同族被引用专利总数
46
诉讼案件数
0
法律状态/事件
授权 | 权利转移
抱歉,您的浏览器不支持PDF预览,请点击链接下载PDF文件