专利数据库
统计分析
产业报告
专利数据监控
产业人才
行业动态
产业政策法规
维权援助
个人中心
详情
文本
图像
标题
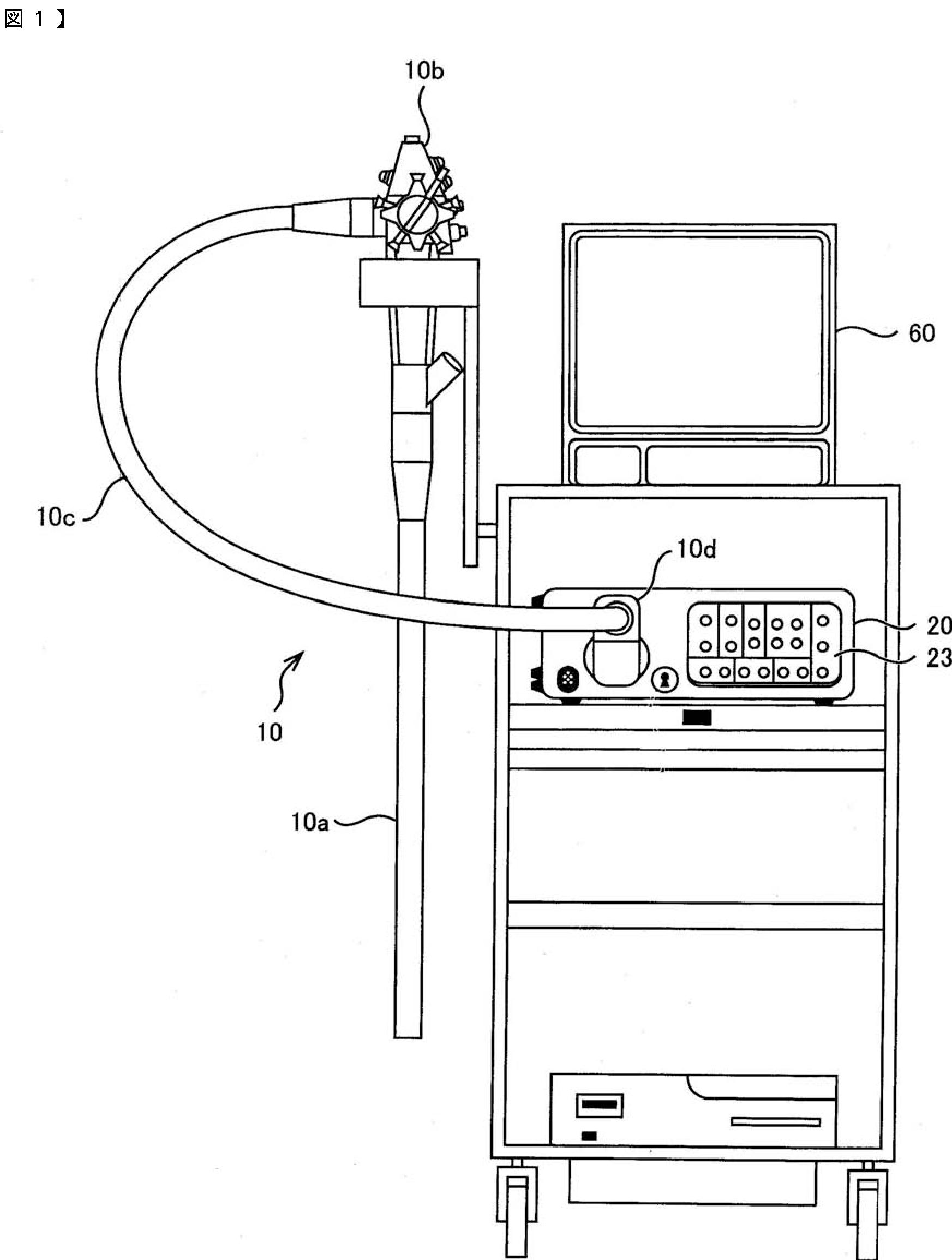
内視鏡用光源装置
授权日
2011-09-22
公开(公告)号
JP4827491B2
申请日
2005-10-26
公开(公告)日
2011-11-30
当前申请(专利权)人
HOYA株式会社
发明人
榎本 貴之
简单同族
DE102006050633A1 | DE102006050633B4 | JP2007117287A | JP4827491B2 | US20070093688A1 | US7769433
简单同族成员数量
6
简单同族被引用专利总数
25
诉讼案件数
0
法律状态/事件
授权 | 权利转移
抱歉,您的浏览器不支持PDF预览,请点击链接下载PDF文件