专利数据库
统计分析
产业报告
专利数据监控
产业人才
行业动态
产业政策法规
维权援助
个人中心
详情
文本
图像
标题
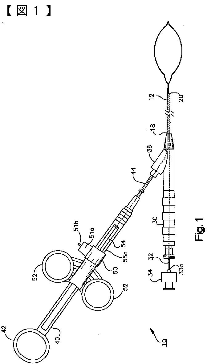
スネア注入デバイス
授权日
2012-04-20
公开(公告)号
JP4977017B2
申请日
2005-05-25
公开(公告)日
2012-07-18
当前申请(专利权)人
ユー.エス. エンドスコピー グループ, インコーポレイテッド
发明人
シークレスト, ディーン ジェイ. | ジョン, ランドール ケー. | ステューバ, ロバート エム. | ケイ, クリストファー ジェイ.
简单同族
EP1766476A2 | EP1766476A4 | EP1766476B1 | JP2008500111A | JP4977017B2 | US20050267490A1 | US7691110 | WO2005115116A2 | WO2005115116A3
简单同族成员数量
9
简单同族被引用专利总数
49
诉讼案件数
0
法律状态/事件
授权
抱歉,您的浏览器不支持PDF预览,请点击链接下载PDF文件