专利数据库
统计分析
产业报告
专利数据监控
产业人才
行业动态
产业政策法规
维权援助
个人中心
详情
文本
图像
标题
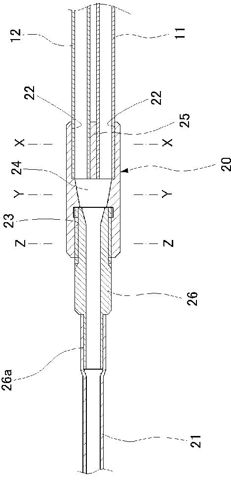
内視鏡の流路合流構造
授权日
1900-01-01
公开(公告)号
JP2007236425A
申请日
2006-03-06
公开(公告)日
2007-09-20
当前申请(专利权)人
富士フイルム株式会社
发明人
鳥居 雄一
简单同族
CN100571609C | CN101032392A | EP1832226A1 | EP1832226B1 | JP2007236425A | JP5009541B2 | KR1020070091580A | TW200733929A | TWI335810B | US20070204890A1 | US7833155
简单同族成员数量
11
简单同族被引用专利总数
48
诉讼案件数
0
法律状态/事件
未缴年费 | 权利转移
抱歉,您的浏览器不支持PDF预览,请点击链接下载PDF文件