专利数据库
统计分析
产业报告
专利数据监控
产业人才
行业动态
产业政策法规
维权援助
个人中心
详情
文本
图像
标题
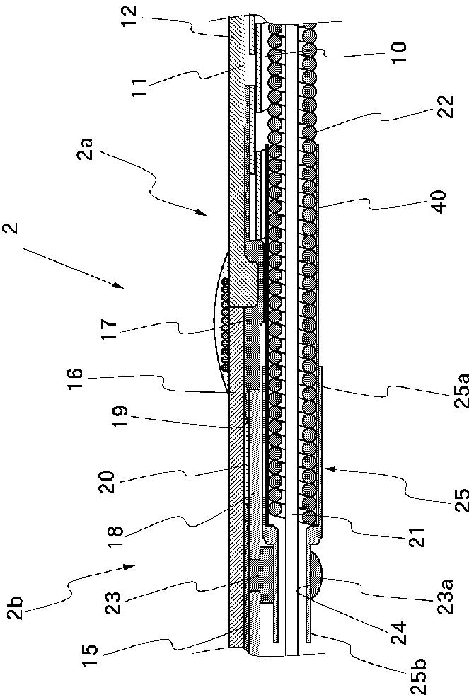
内視鏡の操作ワイヤガイド装置
授权日
2006-02-03
公开(公告)号
JP3765218B2
申请日
2000-02-03
公开(公告)日
2006-04-12
当前申请(专利权)人
フジノン株式会社
发明人
井手 正雄
简单同族
JP2001212076A | JP3765218B2 | US20010023313A1 | US6527706
简单同族成员数量
4
简单同族被引用专利总数
128
诉讼案件数
0
法律状态/事件
未缴年费 | 权利转移
抱歉,您的浏览器不支持PDF预览,请点击链接下载PDF文件