专利数据库
统计分析
产业报告
专利数据监控
产业人才
行业动态
产业政策法规
维权援助
个人中心
详情
文本
图像
标题
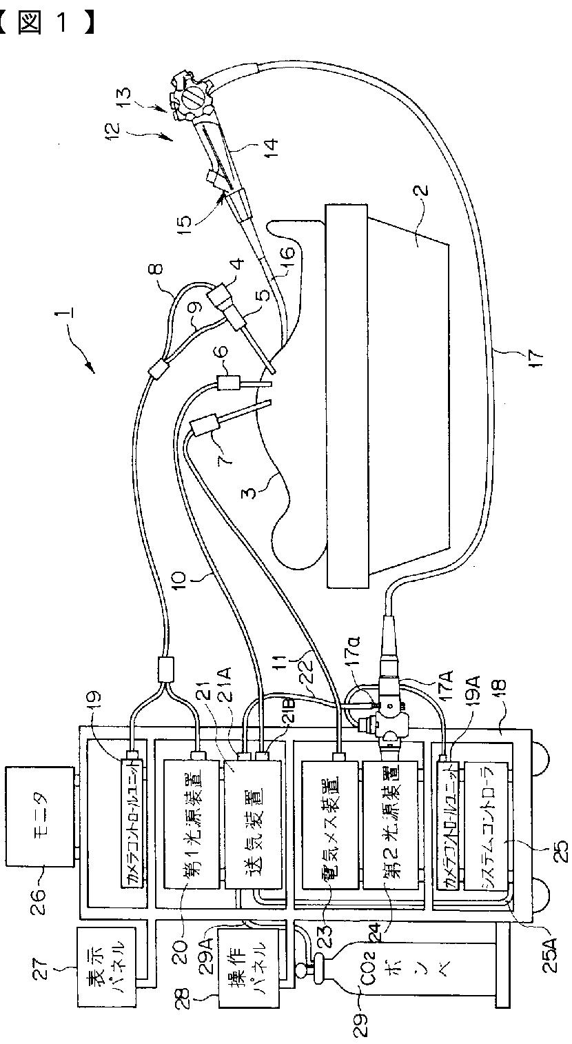
内視鏡外科手術システム
授权日
2010-08-27
公开(公告)号
JP4573555B2
申请日
2004-03-30
公开(公告)日
2010-11-04
当前申请(专利权)人
オリンパス株式会社
发明人
上杉 武文 | 佐野 大輔 | 野田 賢司 | 重昆 充彦
简单同族
JP2005279061A | JP4573555B2 | US20050222535A1
简单同族成员数量
3
简单同族被引用专利总数
39
诉讼案件数
0
法律状态/事件
授权 | 权利转移
抱歉,您的浏览器不支持PDF预览,请点击链接下载PDF文件