专利数据库
统计分析
产业报告
专利数据监控
产业人才
行业动态
产业政策法规
维权援助
个人中心
详情
文本
图像
标题
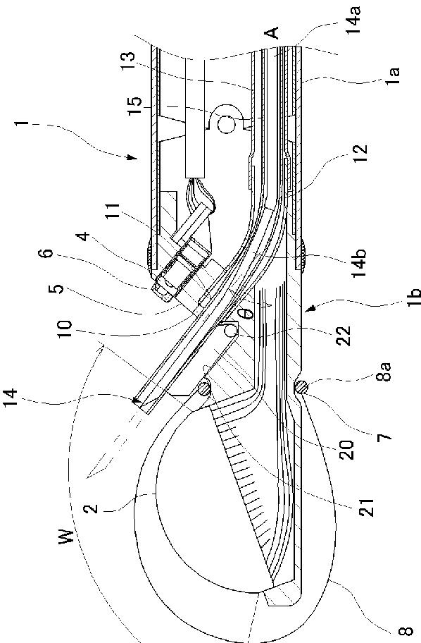
超音波内視鏡
授权日
1900-01-01
公开(公告)号
JP2007252458A
申请日
2006-03-22
公开(公告)日
2007-10-04
当前申请(专利权)人
富士フイルム株式会社
发明人
河野 慎一
简单同族
AT524112T | EP1836966A1 | EP1836966B1 | JP2007252458A | JP4884046B2 | US20070249940A1 | US8177717
简单同族成员数量
7
简单同族被引用专利总数
24
诉讼案件数
0
法律状态/事件
未缴年费 | 权利转移
抱歉,您的浏览器不支持PDF预览,请点击链接下载PDF文件