专利数据库
统计分析
产业报告
专利数据监控
产业人才
行业动态
产业政策法规
维权援助
个人中心
详情
文本
图像
标题
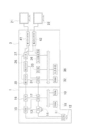
内視鏡装置
授权日
1900-01-01
公开(公告)号
JP2006247163A
申请日
2005-03-11
公开(公告)日
2006-09-21
当前申请(专利权)人
富士フイルム株式会社
发明人
河西 徹也 | 阿部 一則
简单同族
AT439080T | DE602006008364D1 | EP1700560A1 | EP1700560B1 | JP2006247163A | JP4780980B2 | US20060203087A1 | US8144191
简单同族成员数量
8
简单同族被引用专利总数
59
诉讼案件数
0
法律状态/事件
未缴年费 | 权利转移
抱歉,您的浏览器不支持PDF预览,请点击链接下载PDF文件