专利数据库
统计分析
产业报告
专利数据监控
产业人才
行业动态
产业政策法规
维权援助
个人中心
详情
文本
图像
标题
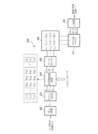
内視鏡装置
授权日
1900-01-01
公开(公告)号
JP2006239203A
申请日
2005-03-04
公开(公告)日
2006-09-14
当前申请(专利权)人
富士フイルム株式会社
发明人
阿部 一則 | 竹内 信次 | 綾目 大輔
简单同族
EP1698271A1 | EP1698271B1 | JP2006239203A | JP4647346B2 | US20060198551A1 | US7944466
简单同族成员数量
6
简单同族被引用专利总数
52
诉讼案件数
0
法律状态/事件
未缴年费 | 权利转移
抱歉,您的浏览器不支持PDF预览,请点击链接下载PDF文件