专利数据库
统计分析
产业报告
专利数据监控
产业人才
行业动态
产业政策法规
维权援助
个人中心
详情
文本
图像
标题
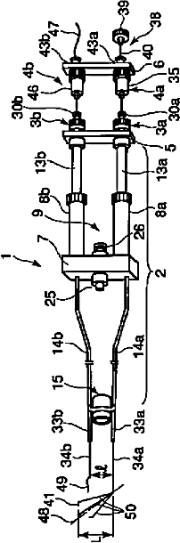
組織穿刺装置
授权日
1900-01-01
公开(公告)号
JP2002336262A
申请日
2002-04-02
公开(公告)日
2002-11-26
当前申请(专利权)人
オリンパス株式会社
发明人
小貫 喜生 | 鈴木 孝之 | 川島 晃一
简单同族
JP2002336262A | JP4493258B2 | US20030004544A1 | US7306613
简单同族成员数量
4
简单同族被引用专利总数
79
诉讼案件数
0
法律状态/事件
未缴年费 | 权利转移
抱歉,您的浏览器不支持PDF预览,请点击链接下载PDF文件