专利数据库
统计分析
产业报告
专利数据监控
产业人才
行业动态
产业政策法规
维权援助
个人中心
详情
文本
图像
标题
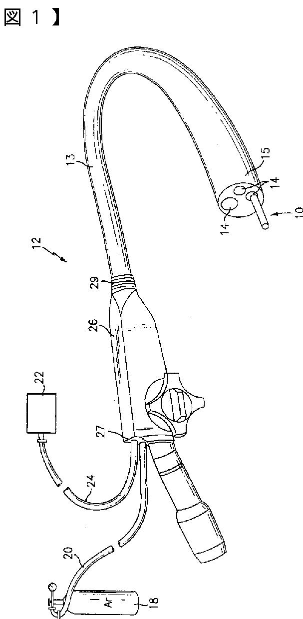
多ポート型側部放出式凝固器
授权日
2008-04-11
公开(公告)号
JP4109410B2
申请日
2000-10-05
公开(公告)日
2008-07-02
当前申请(专利权)人
コビディエン アクチェンゲゼルシャフト
发明人
ロバート シー プラット
简单同族
AU2000062440A1 | AU768456B2 | CA2320651A1 | CA2320651C | DE60018002D1 | DE60018002T2 | EP1090597A1 | EP1090597B1 | ES2235731T3 | JP2001145633A | JP4109410B2 | US20030105458A1 | US20050015086A1 | US20080215045A1 | US20100063501A9 | US6616660 | US6852112 | US7927330 | US7955330
简单同族成员数量
19
简单同族被引用专利总数
148
诉讼案件数
0
法律状态/事件
未缴年费
抱歉,您的浏览器不支持PDF预览,请点击链接下载PDF文件