专利数据库
统计分析
产业报告
专利数据监控
产业人才
行业动态
产业政策法规
维权援助
个人中心
详情
文本
图像
标题
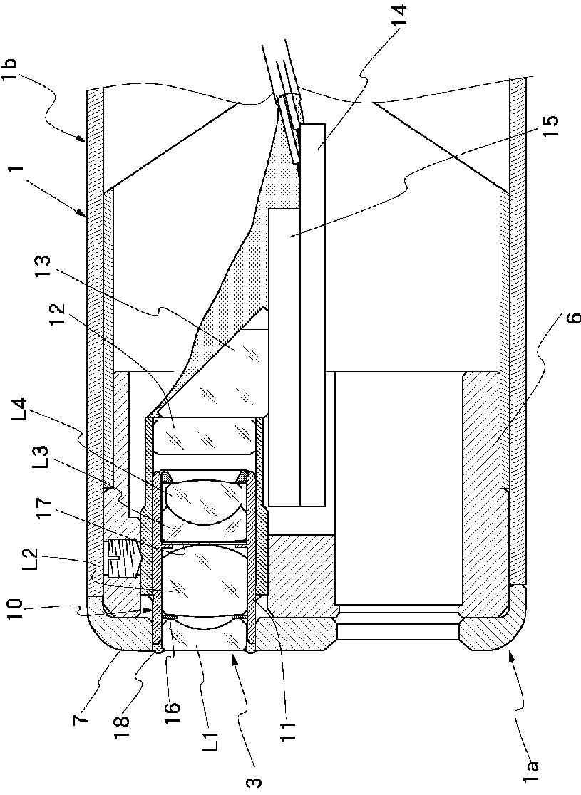
内視鏡のレンズ装置
授权日
2007-07-20
公开(公告)号
JP3985466B2
申请日
2001-06-07
公开(公告)日
2007-10-03
当前申请(专利权)人
フジノン株式会社
发明人
渡邉 城治 | 坂本 和広 | 三浦 信行 | 山高 修一 | 窪谷 洋 | 小林 理
简单同族
DE10225378A1 | DE10225378B4 | JP2002365560A | JP3985466B2 | US20020186478A1 | US6695775
简单同族成员数量
6
简单同族被引用专利总数
102
诉讼案件数
0
法律状态/事件
未缴年费 | 权利转移
抱歉,您的浏览器不支持PDF预览,请点击链接下载PDF文件