专利数据库
统计分析
产业报告
专利数据监控
产业人才
行业动态
产业政策法规
维权援助
个人中心
详情
文本
图像
标题
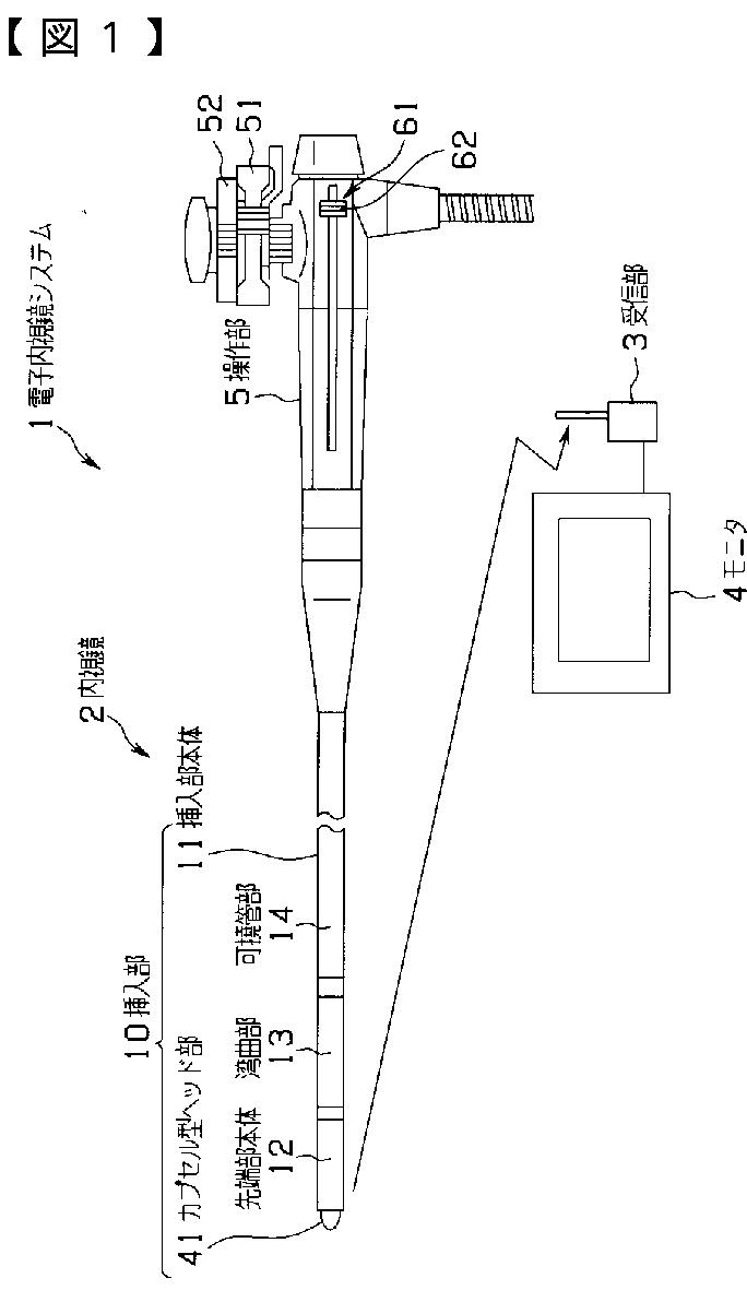
内視鏡
授权日
2009-10-30
公开(公告)号
JP4398184B2
申请日
2003-06-24
公开(公告)日
2010-01-13
当前申请(专利权)人
オリンパス株式会社
发明人
三宅 清士 | 小畑 光男 | 宮▲崎▼ 敦之
简单同族
JP2005013359A | JP4398184B2 | US20040267095A1 | US7322934
简单同族成员数量
4
简单同族被引用专利总数
315
诉讼案件数
0
法律状态/事件
未缴年费 | 权利转移
抱歉,您的浏览器不支持PDF预览,请点击链接下载PDF文件