专利数据库
统计分析
产业报告
专利数据监控
产业人才
行业动态
产业政策法规
维权援助
个人中心
详情
文本
图像
标题
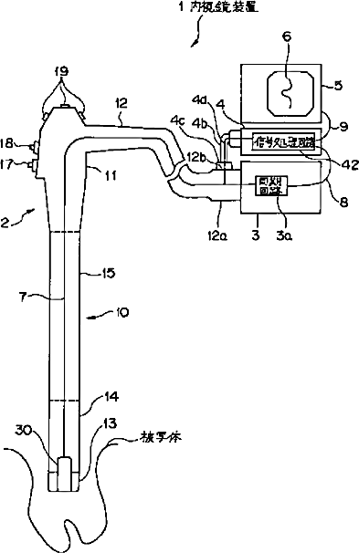
内視鏡
授权日
1900-01-01
公开(公告)号
JP2002095626A
申请日
2000-09-22
公开(公告)日
2002-04-02
当前申请(专利权)人
オリンパス光学工業株式会社
发明人
中島 茂 | 山谷 高嗣 | 藤森 紀幸 | 河内 昌宏 | 矢部 久雄 | 高村 幸治
简单同族
JP2002095626A
简单同族成员数量
1
简单同族被引用专利总数
21
诉讼案件数
0
法律状态/事件
撤回
抱歉,您的浏览器不支持PDF预览,请点击链接下载PDF文件