专利数据库
统计分析
产业报告
专利数据监控
产业人才
行业动态
产业政策法规
维权援助
个人中心
详情
文本
图像
标题
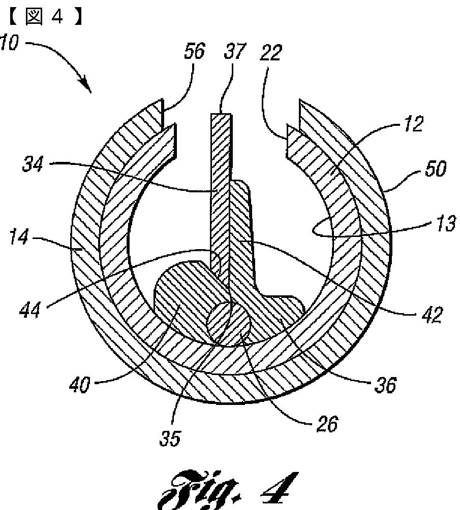
内視鏡用切断器具
授权日
2011-05-27
公开(公告)号
JP4751401B2
申请日
2006-01-27
公开(公告)日
2011-08-17
当前申请(专利权)人
ウィルソン-クック·メディカル·インコーポレーテッド
发明人
サーティ,ヴィハー,シー.
简单同族
AU2006211174A1 | AU2006211174B2 | CA2596249A1 | CA2596249C | EP1841365A1 | EP1841365B1 | JP2008534029A | JP2008534029A5 | JP4751401B2 | US20060184187A1 | US7520886 | WO2006083679A1
简单同族成员数量
12
简单同族被引用专利总数
92
诉讼案件数
0
法律状态/事件
授权
抱歉,您的浏览器不支持PDF预览,请点击链接下载PDF文件