专利数据库
统计分析
产业报告
专利数据监控
产业人才
行业动态
产业政策法规
维权援助
个人中心
详情
文本
图像
标题
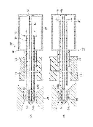
ステントデリバリーシステム
授权日
1900-01-01
公开(公告)号
JP2004181230A
申请日
2003-11-13
公开(公告)日
2004-07-02
当前申请(专利权)人
オリンパス株式会社
发明人
矢沼 豊 | 村松 潤一
简单同族
DE10354278A1 | DE10354278B4 | JP2004181230A | US20050090889A1 | US7648525
简单同族成员数量
5
简单同族被引用专利总数
23
诉讼案件数
0
法律状态/事件
撤回
抱歉,您的浏览器不支持PDF预览,请点击链接下载PDF文件