专利数据库
统计分析
产业报告
专利数据监控
产业人才
行业动态
产业政策法规
维权援助
个人中心
详情
文本
图像
标题
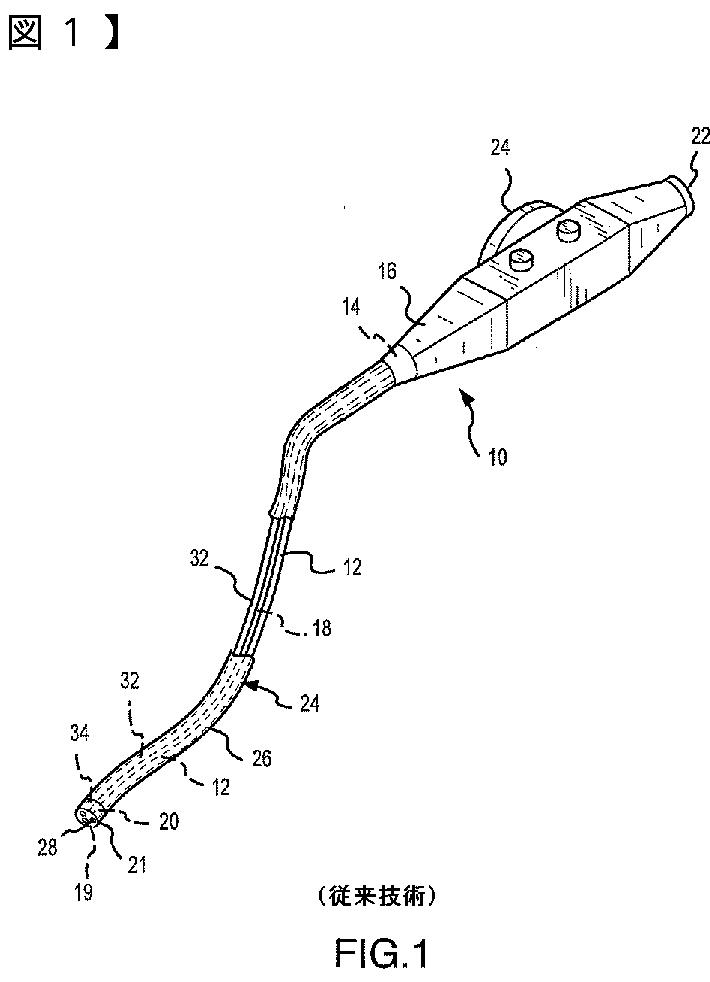
内視鏡用の鞘および鞘を形成する方法
授权日
2011-08-12
公开(公告)号
JP4800552B2
申请日
2001-03-08
公开(公告)日
2011-10-26
当前申请(专利权)人
ビジョン サイエンシーズ, インコーポレイテッド
发明人
アイリンガー, ロバート イー. | マートーン, スティーブン エム. | ランドマン, マーク エス. | オネダ, カツミ
简单同族
AU2001050818A1 | AU2001250818B2 | AU2001250818B9 | EP1581091A2 | EP1581091A4 | EP1581091B1 | JP2004510464A | JP4800552B2 | US6530881 | WO2002007787A2 | WO2002007787A3
简单同族成员数量
11
简单同族被引用专利总数
145
诉讼案件数
0
法律状态/事件
授权
抱歉,您的浏览器不支持PDF预览,请点击链接下载PDF文件