专利数据库
统计分析
产业报告
专利数据监控
产业人才
行业动态
产业政策法规
维权援助
个人中心
详情
文本
图像
标题
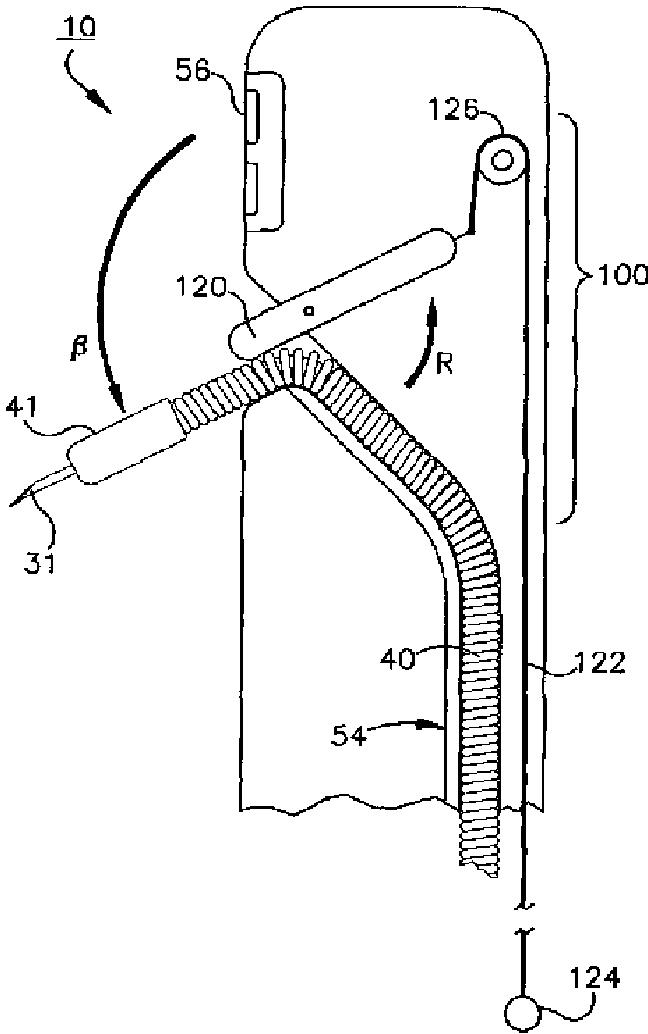
十二指腸鏡ニードル
授权日
1900-01-01
公开(公告)号
JP2004528122A
申请日
2002-05-17
公开(公告)日
2004-09-16
当前申请(专利权)人
ユナイテッド ステイツ エンドスコピー グループ,インコーポレイテッド
发明人
シークレスト ディーン,ジェイ. | ヤンガー マーリン,イー. | グルーロッチ ウイリアム,イー.
简单同族
AU2002311928B2 | EP1387707A2 | EP1387707A4 | JP2004528122A | JP4517330B2 | US20020193741A1 | US20040097887A1 | US6666847 | US7727197 | WO2002094353A2 | WO2002094353A3
简单同族成员数量
11
简单同族被引用专利总数
60
诉讼案件数
0
法律状态/事件
授权
抱歉,您的浏览器不支持PDF预览,请点击链接下载PDF文件