专利数据库
统计分析
产业报告
专利数据监控
产业人才
行业动态
产业政策法规
维权援助
个人中心
详情
文本
图像
标题
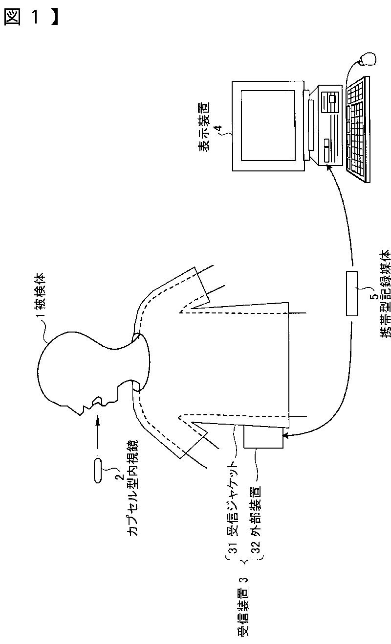
被検体内情報取得装置の収容ケース
授权日
2010-10-22
公开(公告)号
JP4611034B2
申请日
2005-01-05
公开(公告)日
2011-01-12
当前申请(专利权)人
オリンパス株式会社
发明人
瀬川 英建
简单同族
AU2005323706A1 | AU2005323706B2 | CN101065047A | CN101065047B | EP1834569A1 | EP1834569A4 | EP1834569B1 | JP2006187425A | JP2006187425A5 | JP4611034B2 | US20080039675A1 | US7766167 | WO2006073041A1
简单同族成员数量
13
简单同族被引用专利总数
27
诉讼案件数
0
法律状态/事件
授权 | 权利转移
抱歉,您的浏览器不支持PDF预览,请点击链接下载PDF文件