专利数据库
统计分析
产业报告
专利数据监控
产业人才
行业动态
产业政策法规
维权援助
个人中心
详情
文本
图像
标题
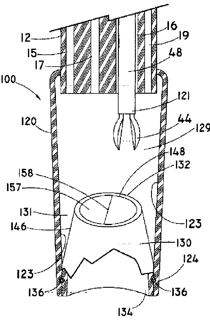
生検採集器具
授权日
1900-01-01
公开(公告)号
JP2010508084A
申请日
2007-10-23
公开(公告)日
2010-03-18
当前申请(专利权)人
クック メディカル テクノロジーズ エルエルシー
发明人
カーピエル, ジョン, エー.
简单同族
AT509581T | AU2007309000A1 | AU2007309000B2 | CA2667560A1 | CA2667560C | EP2091442A1 | EP2091442B1 | JP2010508084A | JP2010508084A5 | JP5161235B2 | US20080103410A1 | US20110105950A1 | US7878983 | US8277392 | WO2008051951A1
简单同族成员数量
15
简单同族被引用专利总数
56
诉讼案件数
0
法律状态/事件
授权 | 权利转移
抱歉,您的浏览器不支持PDF预览,请点击链接下载PDF文件