专利数据库
统计分析
产业报告
专利数据监控
产业人才
行业动态
产业政策法规
维权援助
个人中心
详情
文本
图像
标题
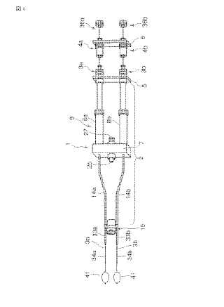
組織穿刺装置及び治療システム
授权日
1900-01-01
公开(公告)号
JP2008264581A
申请日
2008-07-02
公开(公告)日
2008-11-06
当前申请(专利权)人
オリンパス株式会社 | パンカジュ·ジャイ·パスリチャ
发明人
パンカジュ·ジャイ·パスリチャ | 小貫 喜生 | 鈴木 孝之 | 川島 晃一 | 塚越 壯 | 下中 秀樹
简单同族
JP2002336263A | JP2008264581A | JP4261814B2 | JP4896087B2 | US20020156344A1 | US20060282100A1 | US7156857 | US7998148
简单同族成员数量
8
简单同族被引用专利总数
221
诉讼案件数
0
法律状态/事件
授权 | 权利转移
抱歉,您的浏览器不支持PDF预览,请点击链接下载PDF文件