专利数据库
统计分析
产业报告
专利数据监控
产业人才
行业动态
产业政策法规
维权援助
个人中心
详情
文本
图像
标题
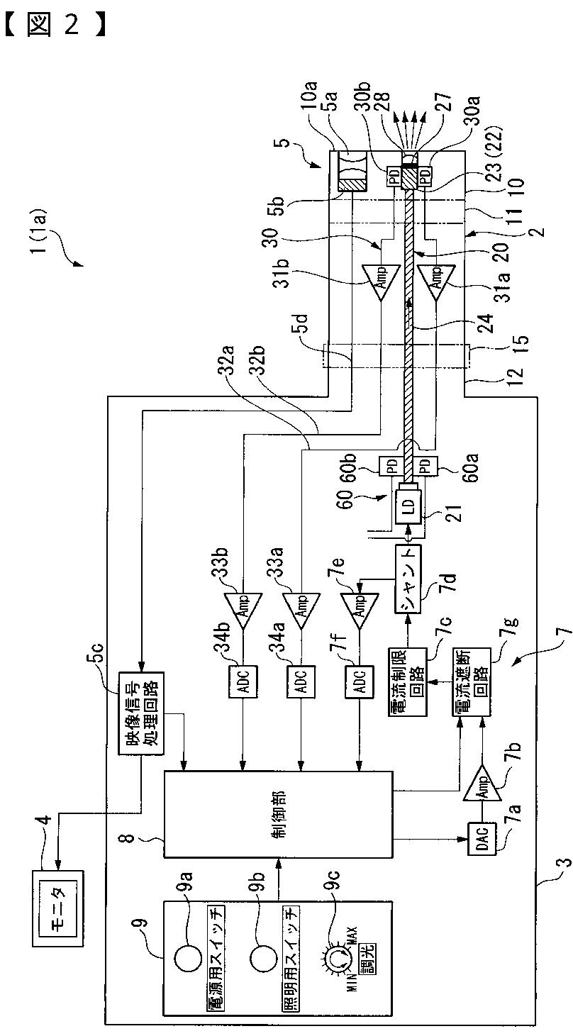
照明装置及び内視鏡装置
授权日
2014-01-31
公开(公告)号
JP5467052B2
申请日
2008-12-15
公开(公告)日
2014-04-09
当前申请(专利权)人
オリンパス株式会社
发明人
小林 英一
简单同族
CN102245080A | CN102245080B | EP2371268A1 | EP2371268A4 | EP2371268B1 | JP5467052B2 | JPWO2010070720A1 | US20110245616A1 | WO2010070720A1
简单同族成员数量
9
简单同族被引用专利总数
54
诉讼案件数
0
法律状态/事件
授权 | 权利转移
抱歉,您的浏览器不支持PDF预览,请点击链接下载PDF文件