专利数据库
统计分析
产业报告
专利数据监控
产业人才
行业动态
产业政策法规
维权援助
个人中心
详情
文本
图像
标题
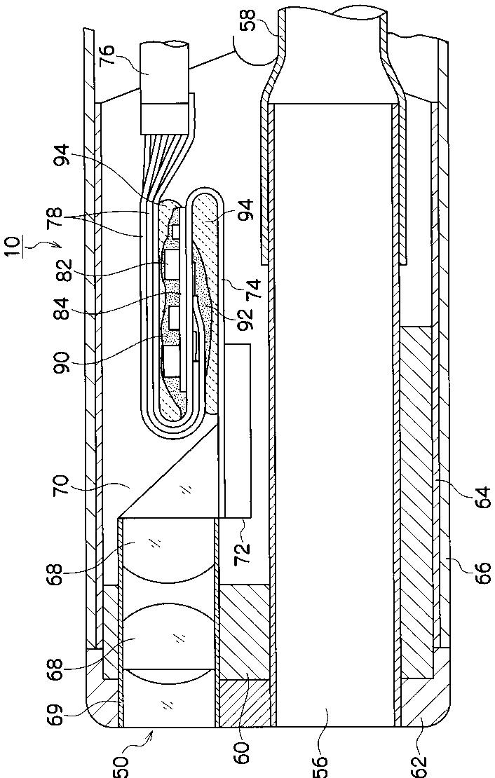
撮像装置及び内視鏡
授权日
1900-01-01
公开(公告)号
JP2010069231A
申请日
2008-09-22
公开(公告)日
2010-04-02
当前申请(专利权)人
富士フイルム株式会社
发明人
高崎 康介
简单同族
JP2010069231A | US20100073470A1 | US8345092
简单同族成员数量
3
简单同族被引用专利总数
100
诉讼案件数
0
法律状态/事件
撤回
抱歉,您的浏览器不支持PDF预览,请点击链接下载PDF文件