专利数据库
统计分析
产业报告
专利数据监控
产业人才
行业动态
产业政策法规
维权援助
个人中心
详情
文本
图像
标题
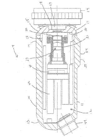
内視鏡用のオートクレーブ滅菌可能なビデオカメラ
授权日
1900-01-01
公开(公告)号
JP2005319291A
申请日
2005-04-19
公开(公告)日
2005-11-17
当前申请(专利权)人
エーシーエムアイ コーポレーション
发明人
グレゴリー コンストラム | タイ リン ファン | ローレンス ジェームズ セント ジョージ
简单同族
DE102005018047A1 | JP2005319291A | JP2005319291A5 | US20050267329A1 | US7852371
简单同族成员数量
5
简单同族被引用专利总数
57
诉讼案件数
0
法律状态/事件
驳回
抱歉,您的浏览器不支持PDF预览,请点击链接下载PDF文件