专利数据库
统计分析
产业报告
专利数据监控
产业人才
行业动态
产业政策法规
维权援助
个人中心
详情
文本
图像
标题
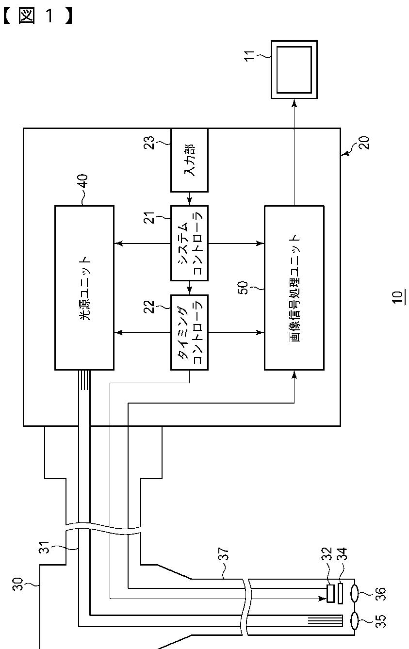
内視鏡プロセッサおよび内視鏡システム
授权日
2013-04-12
公开(公告)号
JP5244455B2
申请日
2008-05-21
公开(公告)日
2013-07-24
当前申请(专利权)人
HOYA株式会社
发明人
柴崎 裕一
简单同族
DE102009022331A1 | DE102009022331B4 | JP2009279150A | JP2009279150A5 | JP5244455B2 | US20090290017A1 | US8223198
简单同族成员数量
7
简单同族被引用专利总数
51
诉讼案件数
0
法律状态/事件
授权 | 权利转移
抱歉,您的浏览器不支持PDF预览,请点击链接下载PDF文件