专利数据库
统计分析
产业报告
专利数据监控
产业人才
行业动态
产业政策法规
维权援助
个人中心
详情
文本
图像
标题
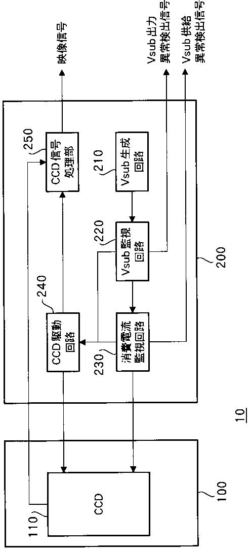
CCDの破損防止システム
授权日
1900-01-01
公开(公告)号
JP2006217317A
申请日
2005-02-04
公开(公告)日
2006-08-17
当前申请(专利权)人
ペンタックス株式会社
发明人
須田 忠明
简单同族
DE102006005306A1 | JP2006217317A | US20060176386A1 | US7593051
简单同族成员数量
4
简单同族被引用专利总数
38
诉讼案件数
0
法律状态/事件
撤回 | 权利转移
抱歉,您的浏览器不支持PDF预览,请点击链接下载PDF文件