专利数据库
统计分析
产业报告
专利数据监控
产业人才
行业动态
产业政策法规
维权援助
个人中心
详情
文本
图像
标题
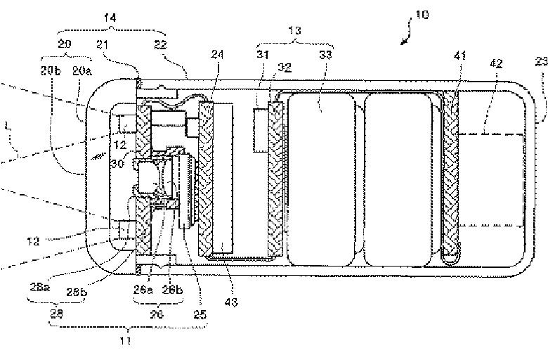
カプセル内視鏡およびカプセル内視鏡システム
授权日
1900-01-01
公开(公告)号
JPWO2004096028A1
申请日
2004-04-21
公开(公告)日
2006-07-13
当前申请(专利权)人
オリンパス株式会社
发明人
木許 誠一郎 | 藤森 紀幸 | 鈴島 浩 | 重盛 敏明 | 中村 力 | 永瀬 綾子 | 薬袋 哲夫 | 清水 初男 | 本多 武道 | 笹川 克義 | 鈴木 克哉 | 橋本 雅行 | 折原 達也 | 中土 一孝
简单同族
AU2004233668A1 | AU2004233668B2 | CA2523306A1 | CA2523306C | CN100435716C | CN1777392A | EP1618834A1 | EP1618834A4 | JP4422679B2 | JPWO2004096028A1 | KR1020060013517A | US20040225190A1 | WO2004096028A1
简单同族成员数量
13
简单同族被引用专利总数
59
诉讼案件数
0
法律状态/事件
未缴年费 | 权利转移
抱歉,您的浏览器不支持PDF预览,请点击链接下载PDF文件