专利数据库
统计分析
产业报告
专利数据监控
产业人才
行业动态
产业政策法规
维权援助
个人中心
详情
文本
图像
标题
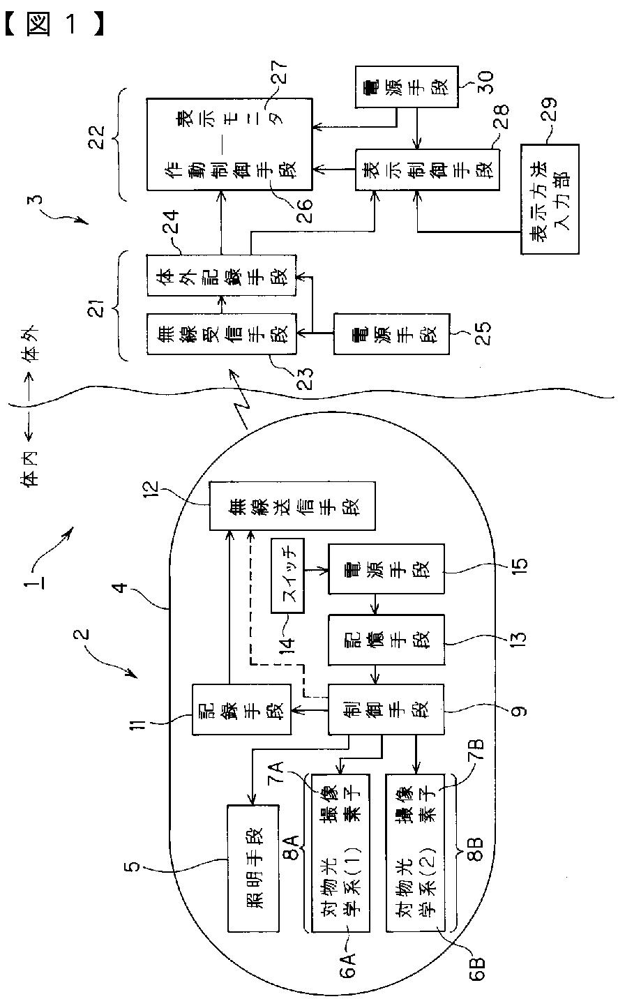
カプセル型医療システム
授权日
2010-05-28
公开(公告)号
JP4520491B2
申请日
2007-07-09
公开(公告)日
2010-08-04
当前申请(专利权)人
オリンパス株式会社
发明人
横井 武司
简单同族
JP2007313340A | JP4520491B2
简单同族成员数量
2
简单同族被引用专利总数
86
诉讼案件数
0
法律状态/事件
授权 | 权利转移
抱歉,您的浏览器不支持PDF预览,请点击链接下载PDF文件