专利数据库
统计分析
产业报告
专利数据监控
产业人才
行业动态
产业政策法规
维权援助
个人中心
详情
文本
图像
标题
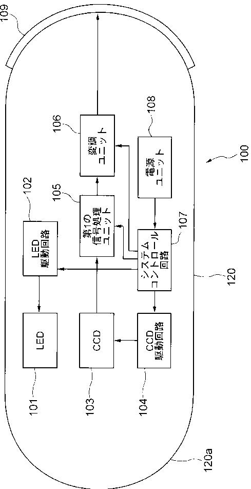
被検体内情報取得システム
授权日
1900-01-01
公开(公告)号
JP2007068622A
申请日
2005-09-05
公开(公告)日
2007-03-22
当前申请(专利权)人
オリンパス株式会社
发明人
清水 初男 | 中村 幹夫
简单同族
JP2007068622A | US20070055098A1 | WO2007029453A1
简单同族成员数量
3
简单同族被引用专利总数
101
诉讼案件数
0
法律状态/事件
撤回
抱歉,您的浏览器不支持PDF预览,请点击链接下载PDF文件