专利数据库
统计分析
产业报告
专利数据监控
产业人才
行业动态
产业政策法规
维权援助
个人中心
详情
文本
图像
标题
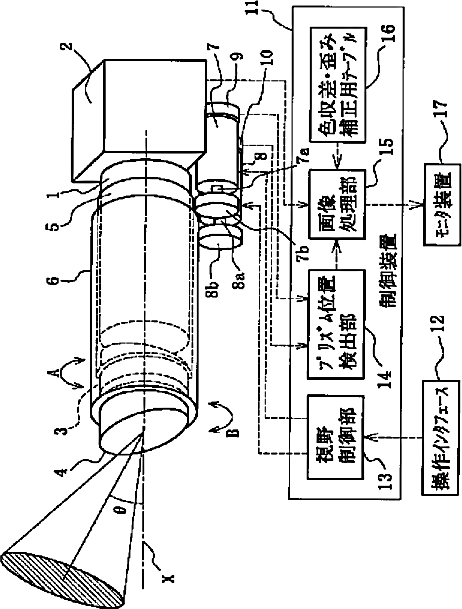
体腔内観察装置
授权日
1900-01-01
公开(公告)号
JP2002000550A
申请日
2000-06-20
公开(公告)日
2002-01-08
当前申请(专利权)人
東京大学長
发明人
土肥 健純 | 佐久間 一郎 | 小林 英津子 | 岩原 誠
简单同族
DE60117482D1 | DE60117482T2 | DE60132641D1 | DE60132641T2 | EP1166710A2 | EP1166710A3 | EP1166710B1 | EP1481627A1 | EP1481627B1 | HK1040603A | JP2002000550A | JP3345645B2 | US20020022767A1 | US6626828
简单同族成员数量
14
简单同族被引用专利总数
157
诉讼案件数
0
法律状态/事件
期限届满 | 权利转移
抱歉,您的浏览器不支持PDF预览,请点击链接下载PDF文件