专利数据库
统计分析
产业报告
专利数据监控
产业人才
行业动态
产业政策法规
维权援助
个人中心
详情
文本
图像
标题
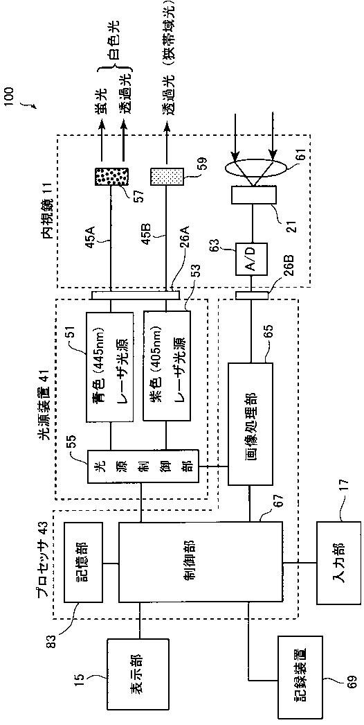
内視鏡用照明装置および内視鏡装置
授权日
1900-01-01
公开(公告)号
JP2011010998A
申请日
2009-07-06
公开(公告)日
2011-01-20
当前申请(专利权)人
富士フイルム株式会社
发明人
水由 明 | 齋藤 孝明
简单同族
CN102469931A | CN102469931B | EP2452610A1 | EP2452610A4 | JP2011010998A | JP5767775B2 | US20120116159A1 | US8858429 | WO2011004801A1
简单同族成员数量
9
简单同族被引用专利总数
190
诉讼案件数
0
法律状态/事件
授权
抱歉,您的浏览器不支持PDF预览,请点击链接下载PDF文件