专利数据库
统计分析
产业报告
专利数据监控
产业人才
行业动态
产业政策法规
维权援助
个人中心
详情
文本
图像
标题
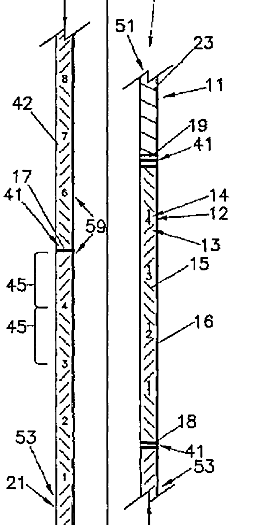
医用器具の標識システム
授权日
1900-01-01
公开(公告)号
JP2004515298A
申请日
2000-07-13
公开(公告)日
2004-05-27
当前申请(专利权)人
ウィルソン-クック メディカル インコーポレイテッド
发明人
ホランド タミシャ エイ | ホーキンス メルヴィン ケム | カーピール ジョン エイ
简单同族
AT438340T | AU2001229024A1 | AU2001229024B2 | CA2414258A1 | CA2414258C | DE60042705D1 | EP1299033A1 | EP1299033B1 | HK1054853A | JP2004515298A | JP2004515298A5 | JP4612275B2 | KR1020030020361A | WO2002047549A1
简单同族成员数量
14
简单同族被引用专利总数
170
诉讼案件数
0
法律状态/事件
授权
抱歉,您的浏览器不支持PDF预览,请点击链接下载PDF文件