专利数据库
统计分析
产业报告
专利数据监控
产业人才
行业动态
产业政策法规
维权援助
个人中心
详情
文本
图像
标题
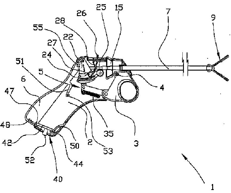
特に腹腔鏡の外科手術で使用される器具
授权日
1900-01-01
公开(公告)号
JP2008525145A
申请日
2005-12-23
公开(公告)日
2008-07-17
当前申请(专利权)人
サージテック ノルウェー エーエス
发明人
ペーダーセン、タージ エス | ヘザリ、レザ
简单同族
AU2005322693A1 | AU2005322693B2 | CA2591210A1 | CN100563585C | CN101090672A | EP1833389A1 | JP2008525145A | JP4825221B2 | KR1020070109992A | NO20045706A | NO20045706D0 | NO20045706L | NO322695B1 | RU2007126952A | RU2397726C2 | US20090131974A1 | WO2006071120A1
简单同族成员数量
17
简单同族被引用专利总数
56
诉讼案件数
0
法律状态/事件
未缴年费
抱歉,您的浏览器不支持PDF预览,请点击链接下载PDF文件