专利数据库
统计分析
产业报告
专利数据监控
产业人才
行业动态
产业政策法规
维权援助
个人中心
详情
文本
图像
标题
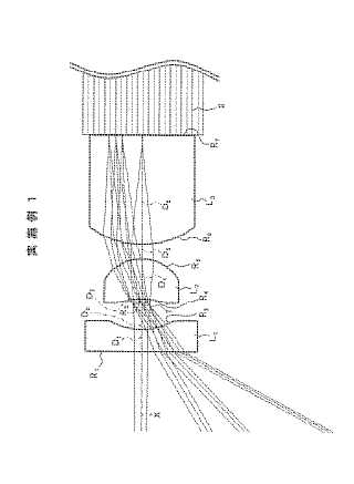
内視鏡用対物レンズ
授权日
1900-01-01
公开(公告)号
JP2006330194A
申请日
2005-05-24
公开(公告)日
2006-12-07
当前申请(专利权)人
富士フイルム株式会社
发明人
宮野 俊
简单同族
JP2006330194A | JP2006330194A5 | JP4685510B2 | US20060268424A1 | US7218454
简单同族成员数量
5
简单同族被引用专利总数
50
诉讼案件数
0
法律状态/事件
授权 | 权利转移
抱歉,您的浏览器不支持PDF预览,请点击链接下载PDF文件