专利数据库
统计分析
产业报告
专利数据监控
产业人才
行业动态
产业政策法规
维权援助
个人中心
详情
文本
图像
标题
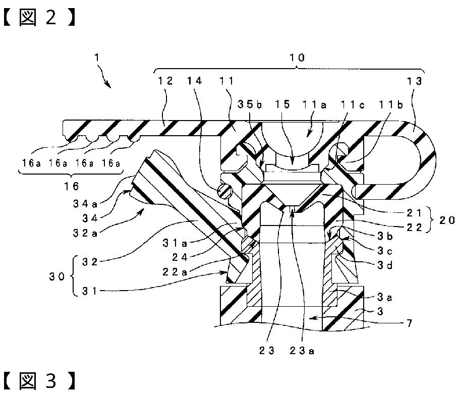
内視鏡用栓体
授权日
2009-10-02
公开(公告)号
JP4383473B2
申请日
2007-09-11
公开(公告)日
2009-12-16
当前申请(专利权)人
オリンパスメディカルシステムズ株式会社
发明人
濱▲崎▼ 昌典
简单同族
JP2008043774A | JP4383473B2
简单同族成员数量
2
简单同族被引用专利总数
29
诉讼案件数
0
法律状态/事件
授权 | 权利转移
抱歉,您的浏览器不支持PDF预览,请点击链接下载PDF文件