专利数据库
统计分析
产业报告
专利数据监控
产业人才
行业动态
产业政策法规
维权援助
个人中心
详情
文本
图像
标题
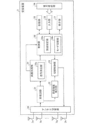
受信装置およびこれを用いた被検体内情報取得システム
授权日
1900-01-01
公开(公告)号
JP2007111205A
申请日
2005-10-19
公开(公告)日
2007-05-10
当前申请(专利权)人
オリンパス株式会社
发明人
永瀬 綾子 | 藤田 学 | 木許 誠一郎 | 重盛 敏明 | 松井 亮 | 中土 一孝
简单同族
AU2006305189A1 | AU2006305189B2 | AU2006305189B9 | CN101291614A | CN101291614B | EP1938740A1 | EP1938740A4 | EP1938740B1 | JP2007111205A | JP4855759B2 | US20100016661A1 | US8632457 | WO2007046476A1
简单同族成员数量
13
简单同族被引用专利总数
26
诉讼案件数
0
法律状态/事件
授权 | 权利转移
抱歉,您的浏览器不支持PDF预览,请点击链接下载PDF文件