专利数据库
统计分析
产业报告
专利数据监控
产业人才
行业动态
产业政策法规
维权援助
个人中心
详情
文本
图像
标题
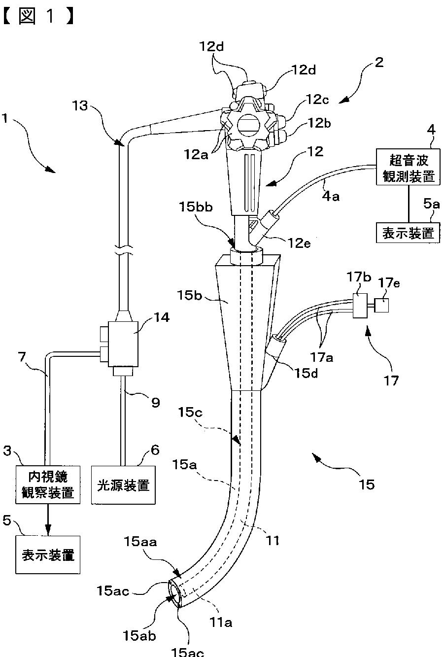
処置具システム
授权日
2012-05-18
公开(公告)号
JP4996311B2
申请日
2007-04-05
公开(公告)日
2012-08-08
当前申请(专利权)人
オリンパスメディカルシステムズ株式会社
发明人
佐藤 直
简单同族
EP1977681A1 | EP1977681B1 | JP2008253581A | JP4996311B2 | US20080249416A1 | US8167808
简单同族成员数量
6
简单同族被引用专利总数
22
诉讼案件数
0
法律状态/事件
授权 | 权利转移
抱歉,您的浏览器不支持PDF预览,请点击链接下载PDF文件