专利数据库
统计分析
产业报告
专利数据监控
产业人才
行业动态
产业政策法规
维权援助
个人中心
详情
文本
图像
标题
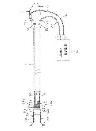
高周波処置用内視鏡
授权日
1900-01-01
公开(公告)号
JP2005110959A
申请日
2003-10-08
公开(公告)日
2005-04-28
当前申请(专利权)人
HOYA株式会社
发明人
大内 輝雄
简单同族
JP2005110959A | JP4441227B2 | US20050080411A1 | US7347860
简单同族成员数量
4
简单同族被引用专利总数
59
诉讼案件数
0
法律状态/事件
未缴年费 | 权利转移
抱歉,您的浏览器不支持PDF预览,请点击链接下载PDF文件