专利数据库
统计分析
产业报告
专利数据监控
产业人才
行业动态
产业政策法规
维权援助
个人中心
详情
文本
图像
标题
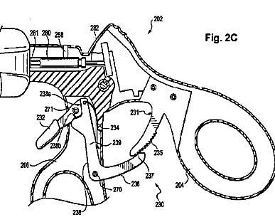
手術器具
授权日
1900-01-01
公开(公告)号
JP2009541013A
申请日
2007-06-26
公开(公告)日
2009-11-26
当前申请(专利权)人
アレジアンス、コーポレイション
发明人
カーペンター, デイビッド | ルミュー, エリン-アン | スコラ, ブルック | ブース, デイビッド, ジェー. | レオナルド, ロバート, エフ. | ルーパー, アンソニー | トマシニ, ジョゼフ
简单同族
BRPI0713786A2 | CA2655528A1 | CA2655528C | CN101534729A | EP2037823A2 | HK1129824A | JP2009541013A | MX2008016307A | NO20085289L | NZ573625A | NZ573625B | RU2008149553A | RU2440043C2 | US20070299469A1 | US7846177 | WO2008002574A2 | WO2008002574A3
简单同族成员数量
17
简单同族被引用专利总数
69
诉讼案件数
0
法律状态/事件
驳回 | 权利转移
抱歉,您的浏览器不支持PDF预览,请点击链接下载PDF文件